
压力容器通常是由板和壳组成的焊接结构。在压力部件中,相应的圆柱筒、球形罐(或球形封头)的壳体





椭圆封头、碟形封头、球冠封头、锥形封头、膨胀接头均为圆柱形壳体。、球壳、椭球壳、球冠+环壳、球冠、圆锥壳和环形板+环壳。
扁盖(或扁头)、环形板、法兰、管板等压力元件对应圆形平板、环形板(外半径与内半径之差大于板厚的10倍)、环(外半径)内半径与内半径之差小于板厚的10倍)和弹性基圆板。
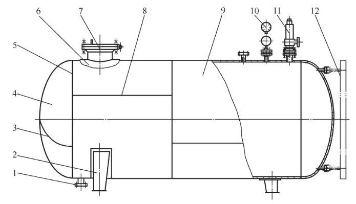
上述7种壳体和4种板可以组合成各种压力容器的结构形式,再加上密封元件、支架、安全附件等,构成一个完整的压力容器。卧式压力容器总体结构图如图1-1所示。下面将结合这张图简要介绍压力容器的基本组成。
(1)气缸
气缸的作用是提供工艺所需的承压空间。它是压力容器中最重要的承压部件之一。其内径和体积通常由工艺计算决定。圆柱(即圆柱)和球圆柱是工程中最常用的圆柱结构。
当气缸直径较小(一般小于1000mm)时,气缸可采用无缝钢管制成,且气缸上无纵向焊缝;当直径较大时,可将钢板在卷板机上卷成圆筒状,或将钢板在液压机上使用,将上压机制成两个半圆筒状,然后将两者用焊缝焊接在一起,形成一个完整的圆筒状。由于焊缝方向平行于筒体的纵向(即轴向),故称为纵焊,简称纵焊。
如果容器的直径不是很大,一般只有一个纵向焊缝;随着容器直径的增大,由于钢板尺寸的限制,可能会出现两个或多个纵向焊缝。此外,还可以将长度较短的容器直接与筒体的两端相连,形成封闭的压力空间,从而制成压力容器外壳。
但是,当容器较长时,由于钢板尺寸的限制,必须先用钢板将筒体的几段(筒体的一段称为筒体段)卷接焊接,然后由两个或多个筒体段焊接而成。放入所需长度的圆柱体中。筒体截面与筒体截面之间、缸体与端头之间的连接焊缝,由于其方向与筒体轴向垂直,故称为周向焊缝,简称环焊缝。
滚筒按其结构可分为单层式和组合式两种。
①单层筒体筒体的壁在厚度方向上由整体材料组成,即壁只有一层(为防止内部介质腐蚀,不包括内衬上的防腐层)。单层钢瓶按制造方法可分为单层卷焊、整体锻造、锻造焊接和非焊接瓶型。
其中,单层卷焊结构是目前制造和使用最多的筒体形式。将法兰组装焊接成一个容器,图1-1所示气缸为单层卷焊结构。
整体锻造结构是最早采用的筒体形式。筒体与法兰在制造时可整体锻造或螺纹连接,整个筒体无焊缝。焊接技术发展后,出现了分段锻造,然后焊接组装成一个整体的锻焊圆柱。
无焊瓶型气缸的制造方法主要有两种:一种是采用优质无缝钢管,两端热旋制成;另一种是钢锭冲压后再热旋压。一般来说,整体锻造和锻焊钢瓶主要用于高压和超高压容器,而非焊接钢瓶常用于制造非焊接大体积钢瓶压力容器。
整体锻造气缸材料金相组织致密,强度高,质量好。特别适用于焊接性能差的高强度钢制成的超高压容器。但制造时需要非常大的熔炼、锻造和机加工设备,材料消耗大,钢材利用率低(仅26%~29%),机加工量大,因此一般只用于内径300~800mm,长度不超过12m的小型超高压容器,如聚乙烯反应釜、人造水晶壶等。
②组合式筒体筒体的壁由厚度方向上不连续的两层或多层物料组成。组合式气缸按结构和制造方法可分为多层式和卷绕式两大类。具体结构将在本书第四章中介绍。
(2)头
根据不同的几何形状,封头可分为球形、椭圆形、碟形、球冠、锥壳和平盖,其中球形、椭圆形、碟形和球冠形封头统称为凸封头。
当集装箱装配后不需要打开时(一般集装箱内没有内件或没有内件但不需要更换或大修的情况下),可将封头直接焊接到气缸上,从而有效地保证了密封,节省了材料,减少了加工制造的工作量。对于因维护或更换内部部件而需要多次打开的容器,封头与桶身之间的连接应可拆卸。此时,必须在封头和桶之间设置密封装置。
(3)密封装置压力容器需要许多密封装置,如封头与气缸之间的可拆卸连接、容器喷嘴与外管之间的可拆卸连接、人孔与手孔盖的连接等,压力容器能否正常安全运行,很大程度上取决于密封装置的可靠性。
螺栓法兰连接(简称法兰连接)是应用最广泛的一种密封装置。它的作用是通过螺栓连接并拧紧螺栓以保证密封。法兰按所连接的部件分为容器法兰和管道法兰。
用于连接容器封头(或顶盖)与气缸之间以及两个气缸之间的法兰称为容器法兰;用于管道连接的法兰称为管道法兰。在高压容器中,用于连接顶盖与缸体并焊接到缸体上的容器法兰也称为缸体端部。
(4)开孔和连接管由于工艺要求和维修需要,在压力容器缸体或封头上经常开各种尺寸的孔或安装管,如人孔、手孔、视镜孔、物料进出口等。接管和安装压力表、液位计、安全阀、温度测量仪表等,以接管开口。
手孔和人孔是对容器内部进行检查、组装、拆卸和清洗的装置。手孔的内径应允许操作者的手自由通过。因此,手孔的直径一般不应小于150mm。考虑到人的手臂长度约为650~700mm,对于直径大于1000mm的容器不应设置手孔,而应更换人孔。
常见的人孔形状有圆形和椭圆形。为了便于操作人员自由进出,圆形人孔的直径应至少为400mm,椭圆形人孔的尺寸一般为350mm×450mm。
在筒体或封头上开孔后,孔的强度减弱,应力增大。随着开口直径的增大,其弱化程度增大。因此,应尽量减少容器上开孔的数量,尤其要避免开大孔。对于集装箱上已开孔的,还应进行开孔加固设计,以保证所要求的强度。
(5)轴承
压力容器由支架支撑,固定在基础上。圆柱形容器和球形容器有不同的支撑。根据安装位置的不同,圆柱形集装箱支架分为垂直集装箱支架和水平集装箱支架。其中,立式集装箱支撑有腿支撑、支撑支撑、耳支撑和裙撑等。有四种类型的支持;而球形容器多采用柱式或裙式支撑。
(6)安全附件
由于压力容器的使用特点和内部介质的化学工艺特点,往往需要在容器上设置一些安全装置和测控仪表,对工作介质的参数进行监测,以保证压力容器的安全和工艺的正常进行。
压力容器的安全附件主要包括安全阀、爆破片装置、紧急截止阀、安全联锁装置、压力表、液位计、测温仪等。
上述六个主要部件(缸体、封头、密封装置、开口喷嘴、支架和安全附件)构成了压力容器的壳体。对于储存容器来说,这个外壳就是容器本身;用于化学反应、传热、分离等工艺过程的容器,必须将工艺所需的内部部件安装在外壳内,才能形成完整的产品。
压力容器部件之间的焊接
压力容器外壳的六个部件如上所述,部件之间的连接大部分需要焊接。因此,焊接质量控制是整个容器质量体系中极其重要的组成部分。虽然焊接质量控制还涉及到许多焊接工艺问题,但设计环节的主要任务是设计焊接结构,确定无损检测的方法、比例和要求。
焊接结构设计涉及到接头形式(如对接接头、搭接接头、角接接头)、接头坡口形式、几何尺寸等。由于压力容器的特殊性,可以说它对焊接质量的要求是所有焊接设备中要求最高的。因此,压力容器设计工程师必须了解容器中焊接结构设计的特点和焊接质量检验的基本要求。具体的焊接结构设计问题将在后面的文章中讨论。